案情简介
澳大利亚活曼特药业有限公司于2017年8月25日在第30类“大麦粗粉,食品用糖蜜,麦乳精,蜂蜜,蜂胶,花粉健身膏,蜂王浆,糖果,烹饪用亚麻籽(调味品),奶片(糖果)” 上申请注册“Ausvita”商标,注册号为26057525。在提交该商标注册申请阶段,我所就同时建议了活曼特公司对在先障碍商标提撤销三年不使用程序。
在我所的预期范围内,2018年5月30日,商标局做出驳回决定,驳回通知书上载明:“Ausvita”商标注册申请被部分驳回,除“大麦粗粉”通过初步审定外,其余商品均被驳回。驳回理由是:申请注册商标与在先注册的第9995662号“澳维多 AUSVITA”商标构成相同近似,而被驳回的商品项目包含申请注册的核心商品内容。
活曼特公司听取我所律师和代理人的建议及解决方案后,委托我所于2018年7月3日对第26057525号“ AUSVITA”商标提出驳回复审程序。
申请商标:

引证商标:
问题聚焦
1)首先分析,申请商标与引证商标是否属于高度近似,仅仅针对驳回商标办理驳回复审程序是否能获得成功?
2)障碍商标能否通过相关程序将其权利排除?
制定策略
经我所法律事务部蒋佰芹及其律师团队的专业分析,申请商标与上述引证商标属于相同近似商标,单独提起驳回复审程序继续争取获得成功的可能性不大。那么在先引证商标权利能否被排除,对本案有着至关重要的影响。
引证商标与申请的“Ausvita”商标属于相同近似商标,引证商标于2012年11月21注册成功,截止申请商标申请之日已注册四年多,满足注册商标连续三年未使用可提起撤三程序的条件。因此,我所建议申请人在申请注册商标的同时,对该商标提起撤三程序,以排除障碍。至驳回复审时,引证商标已被商标局撤销,不再构成申请商标获准注册的在先权利障碍。
因申请商标的主要核心障碍商标已被撤销,最终本案在我所的精心准备和策划下,驳回复审获得了良好的结果。
案件结果
2019年1月24日,商标评审委员会做出如下决定:
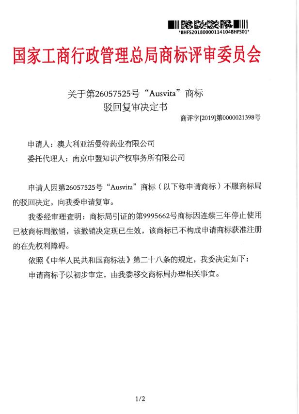
申请人因第26057525号“Ausvita”商标(以下称申请商标)不服商标局的驳回决定,向我委申请复审。
我委经审查查明:商标局引证的第9995662号商标因连续三年停止使用已被商标局撤销,该撤销决定现已生效,该商标已不构成申请商标获准注册的在先权利障碍。
依照《中华人民共和国商标法》第二十八条的规定,我委决定如下:
申请商标予以初步审定,由我委移交商标局办理相关事宜。
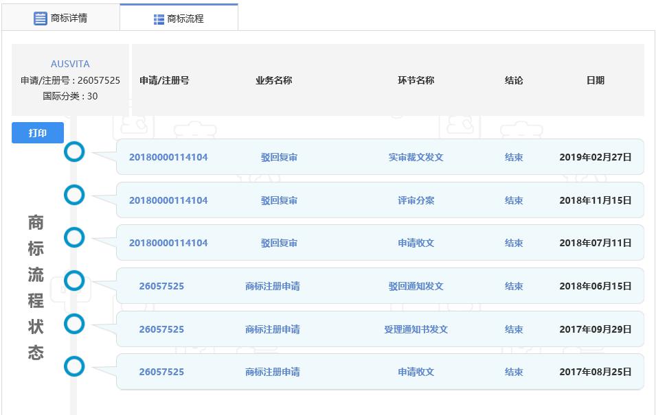
至此,申请人对障碍商标的撤三程序成功,以及对申请注册在第30类的“Ausvita”商标驳回复审程序成功,最终申请人的“Ausvita”商标在核心商品上得以顺利通过审核,目前等候排版公告。
商标流程:
编者按
在市场经济高速的今天,商标与市场经营活动联系日益紧密,作为市场经营活动的重要参与人,只有维护好自己的品牌,才有利于市场开拓。遇到商标驳回事宜不要灰心,寻找专业代理机构进行分析,也许还能将商标挽救回来!注册商标,中盟愿助您一臂之力!
附:第26057525号“Ausvita”商标驳回复审决定书!